igus-icon-lupe
igus-icon-lupe
1 sur 2
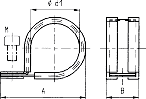
- Acier électro-galvanisé selon DIN 3016
- Profilé élastomère sans halogène
- Plage de température : -50 °C à +105 °C
igus-icon-lieferzeit-dotI-SGB-07
7
Ces colliers servent à fixer et à poser proprement les gaines de protection en PMA dans la construction générale de machines et d'installations. Ils sont particulièrement adaptés à la fixation de câbles posés de manière statique.
